德国KRACHT溢流阀SPVF20K2F1A12结构及液压参数描述
德国KRACHT系列产品使用范围广泛,主要应用:驱动技术、汽车制造、建筑和农业机器、采矿、化学和石油化学、计量技术、能源技术、颜料和油漆工业、传动技术、制冷机器、电站建造、航海、机器制造、海上技术、过程技术、PU技术、机床、风能设备等。KRACHT公司通过多年的发展,KRACHT系列产品在世界各国业内获得广泛赞许和认同,KRACHT在各地有多个工厂,而KRACHT马达、齿轮泵等产品广泛用于钢铁行业和计量行业。KRACHT公司长期以来对产品的不断创新和优化,通过对产品的不断更新换代及大量新产品的推出,让用户体验到更好的品质和更高的效率。KRACHT 始终坚持对品质的精益求精及对细节严谨精神的产品理念,KRACHT 以其优良的产品质量、热情的服务和的技术为导向,为工业领域的发展作出了重要贡献,受到行业内的广泛认同。
德国KRACHT产品主要有:KRACHT齿轮泵、KRACHT输送泵、KRACHT流量计、KRACHT显示器、KRACHT测量仪、KRACHT高压齿轮泵、KRACHT齿轮马达、KRACHT阀等。
德国KRACHT溢流阀SPVF20K2F1A12结构及液压参数描述

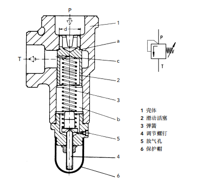
滑动活塞2在压缩弹簧3作用下压在环形区域:上。因此与泵相通的P口同与油箱相通的R口被直径d处的密封隔离开。一旦工作压力达到由调节螺钉4调定的压力,滑动活塞2开始卸荷液压油至油箱。弹簧腔由孔c进行压力补偿。开始时,弹簧腔部一定要通过放气孔5(六角螺钉)进行排气。
阀最好垂直安装,使压力调定量垂直向下。
该益流阀有4种压力调节范围,这是因为弹簧的压缩此决定了每种弹簧只能覆盖有限的压力调节范围。

SPV/SPVF是直动式、滑动活塞式滥流阀。连接于管路中,对低压液压回路的压力进行限定。压力为20(30)bar。连接口可以是SAE(3000psi)法兰口,也可以是惠氏管螺纹口。
德国KRACHT泄压阀SPV使用注意事项:
克拉克KRACHT泄压阀可以水平安装,也可以垂直安装,但安装时应注意阀体水流进出口方向,不能搞错。
一般情况下,一个消防给水系统可以只安装一个克拉克KRACHT泄压阀。
如克拉克KRACHT泄压阀排水口位置较远,泄水管路过长(>2O),泄水管口径宜比克拉克KRACHT泄压阀规格放大一档,以防止泄流不畅产生背压,保证克拉克KRACHT泄压阀阀前管网压力稳定。
消防给水系统在试压过程中,如系统试验压力高于所选用克拉克KRACHT泄压阀的公称压力,应关闭克拉克KRACHT泄压阀的切断阀门,以免克拉克KRACHT泄压阀损坏或失灵.
克拉克KRACHT泄压阀在运行过程中,如发生故障,出现控制失灵,应先检查管路是否畅通。再检查阎体控制管路上的水过滤器是否堵塞、主阀与导阀薄膜是香破裂、以及主阀与导稠的密封垫是香损坏。
上海维特锐实业发展有限公司,发票随货,服务优良,信誉保证。本公司德国设有分公司,欢迎新老客户有欧美品牌询价都可以随时联系我!
项目支持:
1,德国 KRACHT 克拉克(流量计、指示器可提供现场选型配套技术支持,齿轮泵, 阀,备件采购价格有优势)
2,德国 VSE 威仕 (流量计提供项目选型配套,技术支持,维修)
3,另外还有很多品牌也很有优势:
Beinlich百利泵(可提供选型)
RICKMEIER瑞克梅尔泵(可提供选型)
MEISTER流量计
KOBOLD流量计、温度开关
ATOS液压电磁阀、泵、压力继电器
EATON伊顿/VICKERS威格士泵、阀
REXRTOH力士乐液压阀、叶片泵
HYDAC贺德克过滤器、滤芯、传感器
PARKER派克阀、接头、齿轮泵
WEBTEC流量计
MTS位移传感器
AIGNEP快插接头、气动三联件、气动阀、气缸、流体阀