德国KRACHT溢流阀SPV 10 C1 G1 A07性能特点及工作原理描述
德国KRACHT系列产品使用范围广泛,主要应用:驱动技术、汽车制造、建筑和农业机器、采矿、化学和石油化学、计量技术、能源技术、颜料和油漆工业、传动技术、制冷机器、电站建造、航海、机器制造、海上技术、过程技术、PU技术、机床、风能设备等。KRACHT公司通过多年的发展,KRACHT系列产品在世界各国业内获得广泛赞许和认同,KRACHT 在各地有多个工厂,而KRACHT马达、齿轮泵等产品广泛用于钢铁行业和计量行业。KRACHT公司长期以来对产品的不断创新和优化,通过对产品的不断更新换代及大量新产品的推出,让用户体验到更好的品质和更高的效率。KRACHT 始终坚持对品质的精益求精及对细节严谨精神的产品理念,KRACHT 以其优良的产品质量、热情的服务和的技术为导向,为工业领域的发展作出了重要贡献,受到行业内的广泛认同。
德国KRACHT产品主要有:KRACHT齿轮泵、KRACHT输送泵、KRACHT流量计、KRACHT显示器、KRACHT测量仪、KRACHT高压齿轮泵、KRACHT齿轮马达、KRACHT阀等。
德国KRACHT溢流阀SPV 10 C1 G1 A07性能特点及工作原理描述

KRACHT泄压阀是由针形阀、压力表、主阀、导阀及连接管等部件组成。它是水力控制阀的一种。主阀被隔膜分成上、下两部分,隔膜下腔为水流通道,上腔为控制室,由它来控制主阀阀瓣的启闭。导阀本身就是一个克拉克KRACHT泄压阀,它也有控制室和水流通道,阀瓣启闭由控制室控制。针形阙阀即节流阀,它控制着连接管中水的流量。
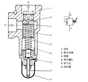
阀的构造:
滑动活塞2在压缩弹簧3作用下压在环形区域a上。因此与泵相晒的P口同与油箱相通的R口被直径d处的密封隔离开。一旦工作压力达到由调节螺钉4调定的压力滑动话塞2开始卸荷液压油至油箱。弹簧腔b由孔c进行压力补偿。开始时弹簧腔b一定要通过放气孔5(六角螺钉)进行排气。阀垂直安装,使压力调定量垂直向下。该滥流阀有4种压力调节范围,这是因为弹簧的玉端比决定了每种弹簧只能覆盖有限的压力调节范围。

德国KRACHT泄压阀SPV使用注意事项
克拉克KRACHT泄压阀可以水平安装,也可以垂直安装,但安装时应注意阀体水流进出口方向,不能搞猎。
一般情况下,一个消防给水系统可以只安装一个克拉克KRACHT泄压阀。
如克拉克KRACHT泄压阀排水口位置较远,泄水管路过长(>,2O),泄水管口径宜比克拉克KRACHT泄压阀规格放大一档,以防止泄流不畅产生背压,保证克拉克KRACHT泄压阀阀前管网压力稳定。
消防给水系统在试压过程中,如系统试验压力高于所选用克拉克KRACHT泄压阀的公称压力,应关闭克拉克KRACHT泄压阀的切断阀门,以免克拉克KRACHT泄压阀损坏或失灵。
克拉克KRACHT泄压阀在运行过程中,如发生故障,出现控制失灵,应先检查管路是香否畅通。再检查阎体控制管路上的水过滤器是否堵塞、主阀与导阀薄膜是否破裂、以及主阀与导稠的密封垫是否损坏。
上海维特锐实业发展有限公司,发票随货,服务优良,信誉保证。本公司德国设有分公司,欢迎新老客户有欧美品牌询价都可以随时联系我!
项目支持:
1,德国 KRACHT 克拉克(流量计、指示器可提供现场选型配套技术支持,齿轮泵, 阀,备件采购价格有优势)
2,德国 VSE 威仕 (流量计提供项目选型配套,技术支持,维修)
3,另外还有很多品牌也很有优势:
Beinlich百利泵(可提供选型)
RICKMEIER瑞克梅尔泵(可提供选型)
MEISTER流量计
KOBOLD流量计、温度开关
ATOS液压电磁阀、泵、压力继电器
EATON伊顿/VICKERS威格士泵、阀
REXRTOH力士乐液压阀、叶片泵
HYDAC贺德克过滤器、滤芯、传感器
PARKER派克阀、接头、齿轮泵
WEBTEC流量计
MTS位移传感器
AIGNEP快插接头、气动三联件、气动阀、气缸、流体阀